Все знают, как заливать жидкость в бачок стеклоочистителя. Инженеры компании Ford решили, что пора обновить этот процесс и придумали новый способ для столь нехитрой операции. И не просто придумал, а запатентовал изобретение.
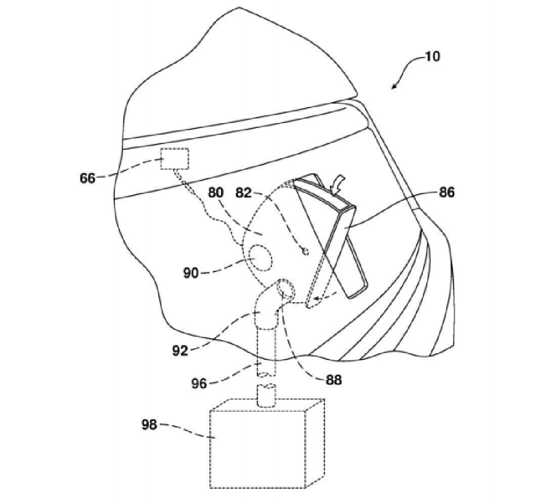
Главная суть новации в том, что теперь не надо открывать капот, чтобы жидкость залить. Специалисты нашли оригинальное решение: Ford придумал, как заливать «омывайку» через эмблему на капоте. Соответствующая заявка поступила в патентное бюро
Все очень просто: передний шильдик, выполняющий функцию запирающего устройства капота, становится также горловиной для заливки «омывайки».
Чтобы разблокировать замок капота, автомобилисту надо просто сдвинуть эмблему вниз, а чтобы залить жидкость в бачок омывателя, нужно просто потянуть эмблему на себя.



Комментарии (0)